马上注册,结交更多好友,享用更多功能,让你轻松玩转社区。
您需要 登录 才可以下载或查看,没有账号?立即注册
x
1.线路板加工生产
方钉工社
2.线路 英文
来源:上游新闻 10月14日,黑龙江省鸡西市警方公开征集于涛、张绪霞(别名张旭)、于波等人犯罪线索的通告,引起广泛关注于涛系哈尔滨市公安局原副局长,张绪霞系其妻子、于波系其姐姐 警方通告中,披露了除以上三人外的方翠英等8名成员的信息。
3.线路板图片
上游新闻(报料邮箱:cnshangyou@163.com)记者经多渠道查询获悉,于涛的妻子张绪霞与犯罪集团成员之一的方翠英是多年合作伙伴,二人曾共同投资至少5家公司二人投资的一家经贸公司曾收购黑龙江客车厂,运营过哈尔滨呼兰利民开发区往道外区方向的唯一一条公交线路。
4.线路短路如何检测和解决
张绪霞、方翠英曾是一家经贸公司的股东图片来源/软件截图 据公开工商信息等多个渠道信息核查,张绪霞不仅是餐饮公司的董事长,还曾投资多家公司,系多家公司的股东、法定代表人 其中,张绪霞与犯罪集团成员方翠英合作密切。
5.线路漏电跳闸解决办法
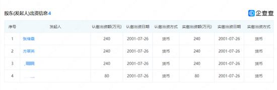
根据警方的通告显示,方翠英,女,绰号方艳子,为汽车零配件制造有限公司法定代表人,张绪霞为董事长此外,张绪霞、方翠英二人还曾是某小额贷款公司以及某旅游运输有限公司的投资人 记者注意到,张绪霞与方翠英曾是一家经贸公司的股东,二人分别占股30%。
6.线路板的制作工艺流程
该公司成立于2001年7月,由方翠英担任法定代表人工商信息显示,该经贸公司经营范围为:公交客运购销;汽车(不含小轿车),汽车配件,五金交电,化工产品(不含危险品),日用百货,建材,安装汽车暖风机,汽车棚靠,服装鞋帽。
7.线路图怎么画?
广告制作、设计、发布、代理 2008年,《中国汽车报》公开报道显示,2007年初,该经贸公司经哈尔滨市国资委批准正式收购黑龙江客车厂,成立哈尔滨龙江客车制造有限公司自上世纪60年代始,龙江牌客车享誉全国。
8.线路维修
进入上世纪90年代后,在市场经济大潮的冲击下,龙江客车的命运起起伏伏,始终在停工、短暂恢复生产、再停工待产之间徘徊 另据当时汽车行业媒体报道,该经贸公司为一家私人企业,只有一个车间和一条生产线 记者注意到,该经贸公司此前还运营着哈尔滨多条公交线路,其中最受诟病的是曾反复停运的郊区6线。
9.线路保护有哪几种
哈尔滨市呼兰区的公交线路曾一度令市民苦不堪言一名居民告诉记者,其居住在呼兰区南京路附近的裕田小区,多年前乘坐公交进入市区,十分不便,“经常有出车率低、甩站、中途拒载乘客等情况出现” 郊区6线为哈尔滨呼兰利民开发区南京路经松浦大桥往市区道外方向的唯一一条公交线路,由前述经贸公司对该线路单车运营车辆进行整合收购,实行公司化改造。
10.线路单相短路是指
根据公开报道显示,交通局曾责令该经贸公司停止营运 据《黑龙江日报》报道,2013年5月,郊6路突然停运在人民网给地方领导留言的板块,市政府办公厅针对百姓提出的问题答复如下:松浦大桥至南京路打通后,郊6路经营者于2012年末购置新车,在未取得经营手续的情况下,私自恢复运营。
因郊6路企业内部经营机制没有理顺,内部股东存在经营矛盾、纠纷较为复杂等情况,2013年5月24日,市交通局责令郊6路停止营运,同时要求其尽快完成线路车辆的整合收购工作 该经贸公司运营的其他线路公交车还曾多次被哈市交通运输局公交行业管理部门点名。
2015年,当地媒体《生活报》报道显示,哈市交通运输局公交行业管理部门,公布了存在出车率低、车辆间隔大、越站等问题的公交线路,其中就包括该经贸公司运营的67路 工商信息显示,2016年5月,该经贸公司股东发生变更,张绪霞与方翠英同时退出。
但是在2017年以及2018年期间,该经贸公司与其他公司的股权转让纠纷的相关裁判文书中,方翠英仍为法定代表人根据裁判文书网显示,在相关判决中,法院依据民事裁定书执行财产保全措施,于2018年5月11日查封了担保人张绪霞单独所有的坐落于哈尔滨市松北区的三处房产。
10月23日,上游新闻记者来到上述房产所在地注意到,其中一处房产位于松北区别墅区临街商服,为地上二层楼、地下一层楼,目前已被租用该房产现租户为一家公司,工作人员称不清楚房屋情况,具体面积不了解 上游新闻记者 沈度
责任编辑:于啸歌
方钉文库
|